컨베이어 밸트의 표면에 클리닝부재가 닿는 접족면을 일정하게 유지시켜 주며, 균일한 힘으로 클리닝부재를 이송밸트의 표면에 접촉시켜 장시간 사용에 의한 접촉력 저하현상이 발생되지 않도록 개선된 장치이다.
|
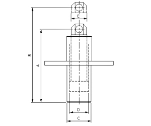
모델
Model |
용량
Cylinder Capacity (tons) |
행정
Stroke (mm) |
실린더
효율 면적 Cylinder Effective Area (㎠) |
오일
용량 Oil Capacity (cc) |
후진
상태 높이 Retracted Height |
전진
상태 높이 Extended Height |
실린더
외경 Cylinder Out Dia. |
실린더
내경 Cylinder Bore Dia. |
피스톤
직경 Piston Dia |
중량
Weight (kgs) |
|
A
|
B
|
C
|
D
|
E
|
||||||
| SHP-1AB | 2 | 70 | 10.2 | 71 | 138 | 208 | 48 | 36 | 30 | 2.5 |